S2000 Body and Paint Body kits, paint, ding repair and related discussions

Removing Rear Moulding Around Top

Old Dec 27, 2016 | 02:59 PM
  #1  
freq's Avatar
Thread Starter
Community Organizer
 
Joined: Nov 2003
Posts: 20,983
Likes: 187
From: in my garage
Question Removing Rear Moulding Around Top

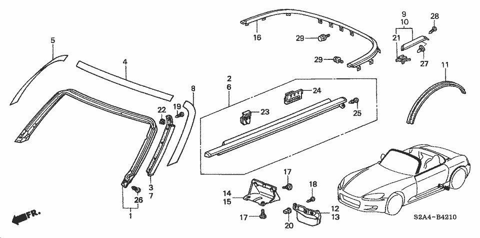
Any issues removing this trim / moulding from around the soft top / hard top area?

Not sure why but it's making me pause.

#16 in the image below.

Reply
Old Dec 27, 2016 | 03:20 PM
  #2  
Hfreak's Avatar
Community Organizer
10 Year Member
Photogenic
Liked
Loved
 
Joined: Mar 2015
Posts: 2,418
Likes: 155
From: Eastern Ontario
Default

Pretty straight forward if you are soft top delete, much more complicated otherwise.
Reply
Old Dec 28, 2016 | 03:56 AM
  #3  
freq's Avatar
Thread Starter
Community Organizer
 
Joined: Nov 2003
Posts: 20,983
Likes: 187
From: in my garage
Default

I worded that wrong, it's not the removal that concerns me. It's the re-installation and getting it to look decent that concerns me.

Soft top and everything behind the dash is gutted.
Reply
Old Dec 29, 2016 | 06:43 PM
  #4  
vasquezgno's Avatar
15 Year Member
Liked
 
Joined: Sep 2009
Posts: 2,038
Likes: 13
From: queens,newyork
Default

Tried to purchase that piece and it was on back order but it looks pretty straight forward the installation process
Reply
Old Dec 30, 2016 | 03:37 AM
  #5  
freq's Avatar
Thread Starter
Community Organizer
 
Joined: Nov 2003
Posts: 20,983
Likes: 187
From: in my garage
Default

Originally Posted by vasquezgno
Tried to purchase that piece and it was on back order but it looks pretty straight forward the installation process
I can imagine shipping that piece would be a total bitch.

There is a piece of foam that run the entire length, it gets folded over the edge of the body then the molding goes over that to avoid rubbing I guess.

I'm hoping reinstallation won't be too bad.
Reply
Old Dec 30, 2016 | 05:05 AM
  #6  
Hfreak's Avatar
Community Organizer
10 Year Member
Photogenic
Liked
Loved
 
Joined: Mar 2015
Posts: 2,418
Likes: 155
From: Eastern Ontario
Default

The foam is attached to the molding but could be stuck to the body of the car in various locations, at least mine was. If you remove the molding with care the foam will be reusable. Installing the molding is fairly easy as there are mounting holes with very little adjustment, I pressed down lightly on the molding while tightening the bolts.
Reply
Related Topics
Thread
Thread Starter
Forum
Replies
Last Post
bgoetz
S2000 Racing and Competition
6
Jan 17, 2018 10:10 AM
notaloafer
S2000 Interiors
0
Oct 23, 2013 06:03 PM
Whoabitchin
S2000 Body and Paint
16
Mar 23, 2010 12:52 PM
L2thousand
S2000 Modifications and Parts
0
Jan 3, 2010 10:19 AM
fastolbat
S2000 Modifications and Parts
3
Aug 22, 2009 10:26 AM



All times are GMT -8. The time now is 06:19 PM.