S2000 Interiors Stock or totally custom, if it's inside the cabin talk about it here.

rear tray, side panel removal

Thread Tools
 
Old Feb 18, 2020 | 07:44 AM
  #1  
ahobie17's Avatar
Thread Starter
Registered User
 
Joined: Oct 2019
Posts: 166
Likes: 31
Default rear tray, side panel removal

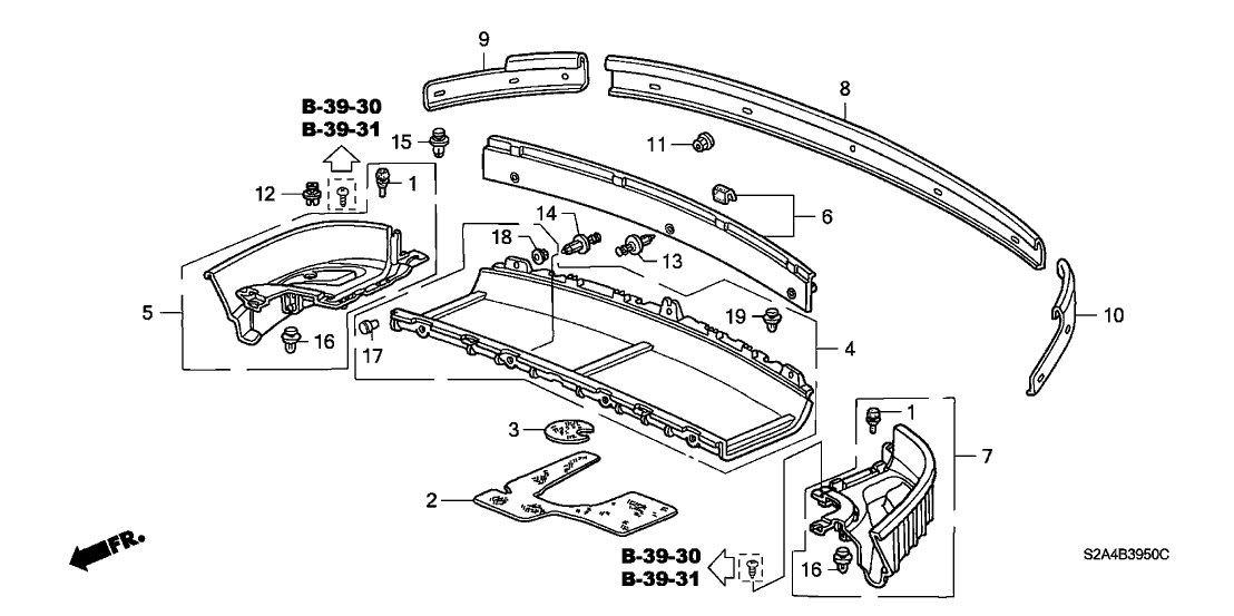
I'm looking to remove the rear tray and side panels (#5&7) for application of sound deadening. I've found how to remove the rear tray, but the two panels on either side have a different type of push pin. How are these removed??


Reply
Related Topics
Thread
Thread Starter
Forum
Replies
Last Post
Coil222
Texas - Central Texas S2000 Owners
10
Dec 24, 2019 04:48 PM
ES2K
S2000 Brakes and Suspension
2
Sep 18, 2018 08:37 PM
Robvas2000
Want to Buy
4
May 31, 2017 10:34 AM
InterHat
S2000 Under The Hood
2
Mar 25, 2017 07:56 PM




All times are GMT -8. The time now is 08:51 AM.